Abbildung ähnlich
Aalberts

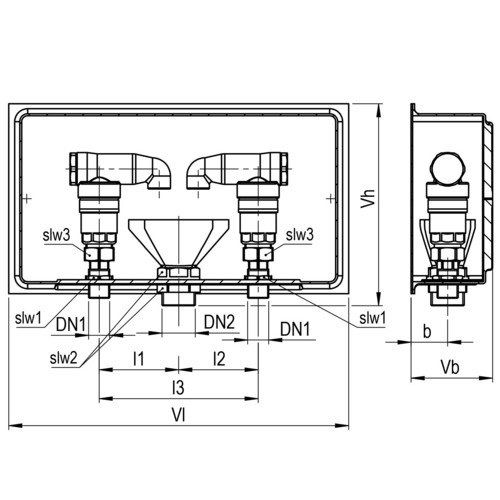
AIPS Rohrbelüfter SEPP Safe 8153, Bauform E DN 15-G1/2a x G1a x G1/2a, 2-fach im Wandeinbaukasten

SF815315 4018422012569 0006052
auf Anfrage
je 1 Stk
keine Verfügbarkeitsinformationen

Folgeartikel

Dieser wird automatisch Ihrem Warenkorb hinzugefügt.

Verkaufsdaten

Mindestbestellmenge 1 Stk
Bestellschritt 1 Stk

Beschreibung

mit Edelstahlabdeckung, Messing, Kunststoff, T-max. 90 °C, PN10

Merkmale

Produktklasse Rohrbelüfter
Serie SEPP Safe
Modell 8153
Internet Link https://aalberts-ips.de/produkte/artikel/0006052
Farbe Messing
Nenndurchmesser 1/2 Zoll
Werkstoff des Gehäuses Messing